Van góc PCCC là loại van cứu hỏa chuyên dụng được lắp đặt trong các tủ PCCC trong tòa nhà để nhân viên cứu hỏa lấy nước ra ngoài trong quá trình chữa cháy. Van vận hành nhẹ nhàng bằng tay quay và được kết nối vào hệ thống dạng ren.

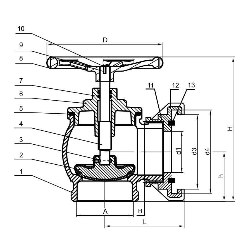
Cấu tạo:
Van góc PCCC được cấu tạo bởi 05 thành phần chính là thân van, lá van, ty van, tay quay và ngàm
- Thân van: được đúc từ gang cầu FCD450, hai mặt được phủ bởi lớp sơn epoxy cao cấp với độ dày ≥300 μm
- Lá van: dạng đĩa tròn bằng gang cầu FCD450 được phủ 100% bằng cao su EPDM phù hợp với tiêu chuẩn nước sạch
- Ty van: sản xuất từ Inox 410 độ bền cao, chống rỉ sét
- Tay quay: dạng vô lăng đúc bằng gang cầu FCD450, độ bền cao.
- Ngàm: dùng để lắp cuộn vòi chữa cháy vào lấy nước ra, được sản xuất bằng nhôm.

Nguyên lý hoạt động:
Khi không dùng đến van ở trạng thái đóng. Khi có nhu cầu lấy nước để chữa cháy nhân viên cứu hỏa sẽ kết nối cuộn vòi chữa cháy vào ngàm van sau đó vận hành tay quay theo chiều mở, lá van sẽ theo ty van đi lên cho nước chảy vào vòi chữa cháy.
Ưu điểm:
- Vận hành nhẹ nhàng bằng tay quay
- Van được sản xuất từ gang cầu FCD450, Inox 304/316 chống rỉ sét, an toàn cho nguồn nước sạch.
- Giá thành rẻ, trọng lượng van nhẹ, thiết kế gọn, ít tốn diện tích khi lắp đặt.

